最近,猫眼发布了半年报,毫不意外,一个词就能形容——惨不忍睹。具体来说,上半年营收2.031亿元,去年同期19.84亿元,净亏损达4.307亿元。
本来,2019年取消票补了终于实现盈利,谁知被疫情开了个天大的玩笑。
目前,猫眼在线票务仍占营收半壁江山,上半年又遭重创,下半年如何自救或许是最着急的问题。

半年差点亏掉全年盈利
众所周知,猫眼背后有腾讯和光线两大靠山。况且,以腾讯和美团的亲密关系,承诺只要持有5%以上已发行股本,就不会在娱乐票务服务业务上与之竞争。
不过,尽管有3位大佬撑腰,这只猫仍然有些扛不住,连亏6年元气大伤。
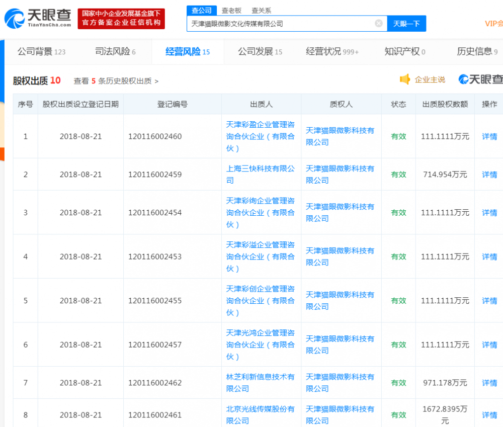
天眼查显示,2018年为了融资,出现过高达10次股权出质事件,2019年初,互联网公司扎堆上市,估值必然不会太高,可猫眼依旧匆匆上市,一切行为只为尽快回血。

2019年上市后,票补自然而然地结束。不管之前在线票务大战打得多激烈,现在越来越多人已经意识到,单纯的在线票务似乎并不足以撑起一门生意。
猫眼一直被认为靠卖票发展壮大,外界由此也给它贴上"票贩子"标签。为摆脱这种固有认知,不得不通过调整产业布局来减少对票务服务的依赖性。
去年7月,猫眼娱乐正式发布"猫爪模型",由最初的文娱票务升级为包含票务、产品、数据、营销和资金多个领域在内的综合文娱服务平台。
为了赚钱,猫眼一直在加码电影制作,然而今年一来就结结实实挨了当头一棒。
根据官方数据,截至2020年8月10日,中国大陆电影市场总票房仅为27.71亿元,同比降低九成。猫眼上半年营收与去年同期相比,也下降了将近九成,仅上半年的亏损,就差点超过去年全年的盈利。
连年亏损,好不容易开始盈利,又一波给打回去,真是让人唏嘘。
影院重开,靠什么自救?
如今,虽然影院已经重开,但整体观影人群依旧没有恢复。
从猫眼娱乐专业版的上座排名可以看出,仅5部电影上座率超过两位数,哈利波特影迷们心中的“白月光”上座率才9.5%。

据统计,7月20日~8月17日,仅4部电影票房过亿,其中只有《多力特的奇幻冒险》是首映,其余均为重映。《误杀》是影院开门就勇闯第一波的影片,1个月艰难累积下来收获1.12亿票房。
《星际穿越》和《哈利波特与魔法石》可谓是经典中的经典,在影迷加持下分别收获1.14亿与1.11亿。
可以看出,好电影依然能有所收获。但从另一个角度来说,疫情之后的特殊市场环境下,也只有好电影才能足够吸引观众,过去随便一部无脑爱情片都能票房过亿的情况,今年多半不会出现了。
因此,对票务平台来说,靠漫天撒网回血已经行不通,只有高质量爆款电影才能救市。

猫眼称,2020上半年仍在出品和发行电影、电视剧。
比如《风平浪静》《起跑》《平原上的莫西》《天才游戏》等已处于拍摄制作阶段,《紧急救援》《反贪风暴 5》《一秒钟》《涉过愤怒的海》及《明日战记》等在发行阶段。
也就是说,在电影储备方面还算充足,但有多少能成爆款,还得质量和口碑说了算。当然,疫情不要在秋冬反复,更是关键。

很显然,2020年对猫眼来说是异常艰难的一年,虽然本次财报一再提到有其他动作,不过能起的作用毕竟有限。
就拿娱乐数据库来说,4月蹭“抖音刷剧”热潮,加入抖音影剧综热榜;6月打通腾讯视频数据;7月上线腾讯音乐“由你音乐榜”。
动作确实不断,但有一项能创收吗,最多增加些口碑罢了。
尽管影视人一直说“没有一个冬天不会过去,没有一个春天不会到来”,但行业离真正的春天还有不少距离,而高质量影片则是缩短距离的最好阶梯,希望圈内人都能明白这个道理,别再想着“恰烂钱”。
评论 {{userinfo.comments}}
{{child.content}}



{{question.question}}
提交